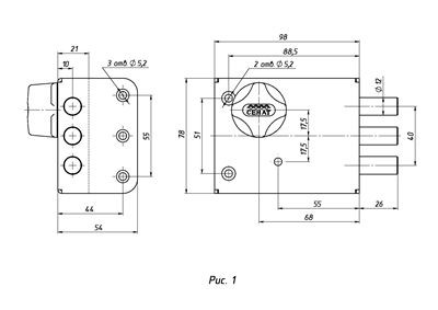
Сенат ЗНС-10-5 5кл 3-ригеля 533 ключ однобородочный (буратино) Замок накладной (10)
ВСЕГДА АКТУАЛЬНЫЕ ЦЕНЫЦены на нашем сайте всегда актуальные. Для юридических лиц цена не увеличивается!
РЕГИОН ДОСТАВКИМы отправим вашу покупку в любой регион России в течение 3-х дней
ГАРАНТИЯ И КАЧЕСТВОМы сами передаем некачественный товар производителям на всем протяжении гарантийного периода
УДОБНАЯ ОПЛАТАОплатите покупку онлайн, картой, наличными курьеру или по счету для для юридических лицХарактеристики
Цвет
Антик медь
Страна производства
РОССИЯ
Вес товара
820 г
Производитель
Сенат г.Новосибирск
Тип двери
Деревянные
Материал
Сталь
Гарантия
2 года
Количество ключей
5
Тип механизма секретности
Сувальдный
Запирание изнутри
Вертушка
Удаление ключевого отверстия (Backset)
55 мм
Форма ригелей
Круглый
Индивидуальная упаковка
Пакет
Отзывы



















































































